사람들이 잘 모르지만 캐논은 미국에 가장 특허를 많이 내는 기업 중 하나입니다. 그래서 캐논이 카메라 제조 기술이 소니보다 떨어져서 뛰어난 기능을 안 넣는 것이 아니라 안 넣어도 잘 팔리기 때문이라고 하죠. 예를 들어서 바디 손떨림 보정 기능은 이미 수년 전에 올림푸스에서 선보였고 소니 등 많은 카메라 제조사들이 핵심 기능 중 하나로 사용하고 있습니다.
그러나 캐논은 2019년까지 출시한 카메라 중에 바디 손떨림 보정 기능이 없었고 2020년 되어서 캐논 EOS R6, EOS R5 그리고 앞으로 출시할 대부분의 캐논 카메라에 바디 손떨림 보정이 들어갈 예정입니다. 캐논은 고급기부터 보급기 엔트리급 카메라 모두 핵심 기능은 모두 넣어줍니다. 이게 참 좋아요. 다만 급 나누기가 확실해서 하위 모델이 상위 모델을 팀킬 하는 걸 용납하지 않습니다.
이렇게 특정 기술을 가지고 있으면서 뒤늦게 선보이는 이유는 그 기능이 없어도 제품이 잘 팔리기에 딱히 넣어주지 않습니다. 그러나 경쟁사가 따라오거나 앞서 나가면 숨겨 놓고 있던 기술들을 탑재합니다. 물론 이 이야기는 제 머리속에서 나온 뇌피셜입니다. 그럼에도 캐논을 지켜보면 '계획적 진부화'로 제품을 만들고 있다는 생각이 드네요. 앞으로 캐논이 선보일 새로운 기술들이 계속 선보일 것으로 보입니다.
캐논의 듀얼렌즈 특허? 어따 쓰는 것일까?

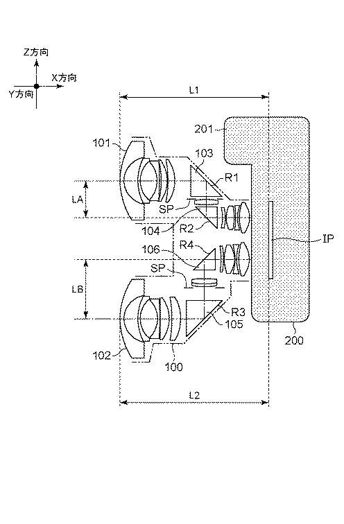
캐논의 기술을 알아보는 간단한 방법은 캐논 카메라가 미국 특허청에 제출한 특허를 보면 어떤 기술들이 앞으로 구현될지 미리 볼 수 있습니다. 물론, 특허는 특허일 뿐 실현이 안 될 수도 있고 제품으로 출시가 안될 확률이 더 높습니다. 그럼에도 이 특허는 신박하네요. 보시면 미러리스로 보이는 카메라 바디 앞에 2개의 렌즈가 있습니다. 렌즈가 마치 쌍안경처럼 두 렌즈 사이가 멉니다. 자세히 보면 반사경을 이용해서 두 렌즈 사이를 떨구었네요.

렌즈 끝은 이렇게 가깝게 배치되어 있습니다. 이 특허는 풀프레임 미러리스 렌즈 마운트를 사용합니다. 따라서 기존의 캐논 풀프레임 미러리스용 렌즈로 보입니다. 눈치채셨겠지만 2개의 렌즈가 들어간 이유는 2가지입니다. 하나는 3D 사진입니다. 우리가 세상을 3D로 인식하고 사물과의 거리를 감지할 수 있는 건 2개의 눈이 떨어져 있고 이 떨어져 있는 눈을 통해서 서로 다르게 보이는 각도를 이용해서 사물과의 거리를 감지할 수 있습니다. 삼각 측량처럼 말이죠.
따라서 2개의 렌즈를 사용해서 3D 사진을 만들 수 있습니다. 아이폰이나 안드로이드폰들이 최근 듀얼 카메라를 넘어서 트리플 카메라가 들어간 이유가 2개의 렌즈를 이용해서 3D 사진도 만들고 배경흐림을 쉽게 만들기 위해서입니다. 이 렌즈 사이의 거리가 멀수록 3D 사진 효과는 더 도드라집니다.
문제는 3D 사진이 소비되려면 그 3D 사진을 촬영할 수 있는 카메라는 물론 출력 시스템이나 디스플레이가 있어야 합니다. 3D 광풍이 2010년 경에 불었다가 폭삭 망한 이유는 3D 콘텐츠 제작은 생각보다 어렵지 않았고 3D 디스플레이나 3D TV도 많았지만 사람들이 안경 끼고 3D 영화나 드라마를 보기 귀찮아하고 오래 보면 눈이 피로한 점이나 화질이 떨어지는 문제 등등 여러 가지 이유로 3D 열풍이 꺼졌습니다.
디지털카메라 시장도 마찬가지입니다. 후지필름이 3D 카메라 및 3D 사진 인화가 가능한 프린터 등을 동시에 선보였지만 신기하긴 하지만 매력적으로 느껴지지는 않았습니다. 마치 렌티큘러 3D 사진이 처음에는 신기하지만 주류가 되진 못합니다. 이 3D 촬영술이나 기술은 20세기 초에 나왔고 그때도 잠시 3D 영화관 3D 사진 광풍이 불었지만 새로운 놀이기구가 나왔다가 사라진 것처럼 지속성이 떨어졌습니다. 따라서 3D 사진용은 이 특허가 딱히 매력적이지 않네요. 물론 3D 사진이 필요한 분야에서는 필요하겠죠.

두 개의 렌즈를 이용한 또 하나의 기능은 광각입니다. 하나의 눈으로 보는 화각보다 2개의 눈으로 보는 화각이 더 넓습니다. 따라서 2개의 광각 렌즈를 이용해서 초광각 화각의 2D 사진을 만들 수 있습니다. 이건 유용할 수 있습니다. 단초점 렌즈는 초점 거리가 고정되어 있어서 줌이 되지 않습니다. 대신 조리개 개방 수치가 좋아서 아웃포커싱이 잘 되고 화질도 좋고 가격도 저렴합니다. 화각이 고정되어 있는 점이 단점이라서 피사체를 크게 담고 싶으면 발줌이라고 해서 발로 다가가야 합니다.
그런데 2개의 렌즈를 사용하면 화각을 조절할 수 있습니다. 2개 중 1개만 사용하다가 2개를 모두 사용하면 화각이 조절이 되겠죠. 그러나 이것도 파노라마 사진이나 초광각 사진을 좋아하는 풍경 사진가나 필요하고 기존의 초광각 렌즈나 여러장의 사진을 촬영해서 파노라마 사진을 만드는 기술이 있기에 딱히 매력적으로 보이지 않습니다. 따라서 이 특허는 세상에 나오지 않을 가능성이 높고 나와도 특수 분야에서만 사용될 것입니다.
3D 사진이 유행하려면 무엇보다 화질이 좋은 3D 사진 출력 시스템이 나와야 합니다. 포토프린터 잘 만드는 캐논이라서 화질은 기존 2D와 버금가면서도 3D 효과가 나는 사진을 저렴한 가격에 출력할 수 있다면 3D 사진 유행이 다시 올지도 모릅니다. 2011년 경에 나온 후지 필름 3D 시스템은 화질이 안 좋고 가격도 비싸서 인기를 끌지 못했는데 가격과 화질 이 2개를 해결한다면 캐논이 3D 사진 열풍을 만들지는 모르겠네요.
3D 카메라가 아닌 기존 카메라에 렌즈만 부착하면 되기에 문턱도 상대적으로 낮습니다. 이 특허 보다는 3D 프린팅 기술 특허가 캐논에서 나오면 캐논이 진지하게 이 사업을 생각한다고 봐야겠죠.
자료 출처 : 캐논뉴스룸